Generator Ausbau und Reparaturen

Zurück zum Teil 1 Fehler in der elektrischen Anlage


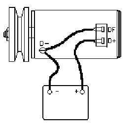
Generator ausbauen

Sonstige Hinweise Übersicht Störtabelle
 
Ladekontrolle brennt nicht bei eingeschalteter Zündung a - Batterie leer
b- Birne durchgebrannt
c- Batteriekabel oxidiert
d- Kabel lose oder gebrochen
e- Zündschalter defekt
Batterie laden
Birne ersetzen
Anschlüsse säubern
Kabel instand setzen
Schalter ersetzen
Ladekontrolle verlöscht nicht bei Drehzahlsteigerung oder flackert a- Keilriemen lose
b- Regler defekt
c- Kabel der Ladeleitung unterbrochen
d- Lichtmaschine defekt
e- Kollektor graphitiert
Riemen spannen
Regler prüfen
Kabel und Anschlüsse prüfen
Lichtmaschine prüfen
Kollektor mit feinem Schmirgelleinen abziehen
Ladekontrolle verlischt erst bei höherer Drehzahl a- Lichtmaschine defekt
b- Regler defekt
Lichtmaschine prüfen
Regler prüfen
Ladekontrolle brennt bei ausgeschalteter Zündung weiter Schalterkontakte im Regler festgebrannt Regler ersetzen

 

Bilder aus: